2023-02-28
不銹鋼材料的硬度是不銹鋼重要機械性能指標之一,一般硬度越高,耐磨性越好。常用的硬度指標有布氏硬度、洛氏硬度和維氏硬度。





(注:數據來自德國標準DIN50150)
硬度是指是指材料抵抗局部變形,特別是塑性變形、壓痕或劃痕的能力。它是衡量材料軟硬的指標。
按測試方法的不同,硬度分為三種類型。
①劃痕硬度。主要用于比較不同礦物的軟硬程度,方法是選一根一端硬一端軟的棒,將被測材料沿棒劃過,根據出現劃痕的位置確定被測材料的軟硬。定性地說,硬物體劃出的劃痕長,軟物體劃出的劃痕短。
②壓入硬度。主要用于金屬材料,方法是用一定的載荷將規定的壓頭壓入被測材料,以材料表面局部塑性變形的大小比較被測材料的軟硬。由于壓頭、載荷以及載荷持續時間的不同,壓入硬度有多種,主要是布氏硬度、洛氏硬度、維氏硬度和顯微硬度等幾種。
③回跳硬度。主要用于金屬材料,方法是使一特制的小錘從一定高度自由下落沖擊被測材料的試樣,并以試樣在沖擊過程中儲存(繼而釋放)應變能的多少(通過小錘的回跳高度測定)確定材料的硬度。
金屬材料最常見到的布氏硬度、洛氏硬度和維氏硬度屬于壓入硬度,硬度值表示材料表面抵抗另一物體壓入時所引起的塑性變形的能力;回跳法(肖氏、里氏)測量硬度,硬度值代表金屬彈性變形功能的大小。
布氏硬度 Brinell Hardness
用直徑D的硬質合金球作壓頭,以相應的試驗力F壓入試件表面,經規定的保持時間后,卸除試驗力,得到一直徑為d的壓痕。用試驗力除以壓痕表面積,所得值即為布氏硬度值,符號用HBW表示。

布氏硬度測量法適用于鑄鐵、非鐵合金、各種退火及調質的鋼材,不宜測定太硬、太小、太薄和表面不允許有較大壓痕的試樣或工件。
洛氏硬度 Rockwell Hardness
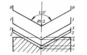
用錐頂角為120°的金剛石圓錐或?1.588mm和?3.176mm淬火鋼球作壓頭和載荷配合使用,在10kgf初載荷和60、100或150kgf力總載荷(即初載荷加主載荷)先后作用下壓入試樣,在總載荷作用后,以卸除主載荷而保留主載荷時的壓入深度與初載荷作用下壓入深度之差來表示硬度。

洛氏硬度試驗采用三種試驗力,三種壓頭,它們共有9種組合,對應于洛氏硬度的9個標尺。這9個標尺的應用涵蓋了幾乎所有常用的金屬材料。常用的有HRA、HRB和HRC三種。

HRC標尺的使用范圍是20~70HRC。當硬度值小于20HRC時,因為壓頭的圓錐部分壓入太多,靈敏度下降,這時應改用HRB標尺;當試樣硬度大于67HRC時,壓頭尖端承受的壓力過大,金剛石容易損壞,壓頭壽命會大大縮短,因此一般應改用HRA標尺。
洛氏硬度試驗操作簡便、迅速、壓痕小,可測試成品表面及較硬、較薄的工件。因壓痕小,對于組織和硬度不均勻的材料,硬度值波動較大,準確性不如布氏硬度高。洛氏硬度用于測定鋼鐵、有色金屬、硬質合金等的硬度。
維氏硬度 Vickers Hardness
維氏硬度測量原理與布氏硬度相似。采用相對面夾角為136°金剛石正四棱錐壓頭,以規定的試驗力F壓入材料的表面,保持規定時間后卸除試驗力,用正四棱錐壓痕單位表面積上所受的平均壓力表示硬度值,標記符號為HV。

維氏硬度測量范圍大,可測量硬度為10~1000HV范圍的材料,壓痕小,一般用來測量較薄的材料和滲碳、滲氮等表面硬化層。
里氏硬度 Leeb Hardness
用一定質量的裝有碳化鎢球頭的沖擊體,在一定力的作用下沖擊試件表面,然后反彈。由于材料硬度不同,撞擊后的反彈速度也不同。在沖擊裝置上安裝有永磁材料,當沖擊體上下運動時,其外圍線圈便感應出與速度成正比的電磁信號,再通過電子線路轉換成里氏硬度值,符號標記為HL。
里氏硬度儀無需工作臺,其硬度傳感器小如一只筆,可用手直接操作,無論是大、重型工件還是幾何尺寸復雜的工件都能容易地檢測。
里氏硬度另外一個優點是對產品表面損傷很輕,有時可作為無損檢測;對各個方向,窄小空間及特殊部位硬度測試具有獨特性。